双翻斗雨量传感器 222
型号:RS-YL*-*-6*-*
品牌:德力信
本仪器为降水量测量一次仪表,其性能符合国家标准 GB/T 21978.2-2014《降水量观测要求》要求。
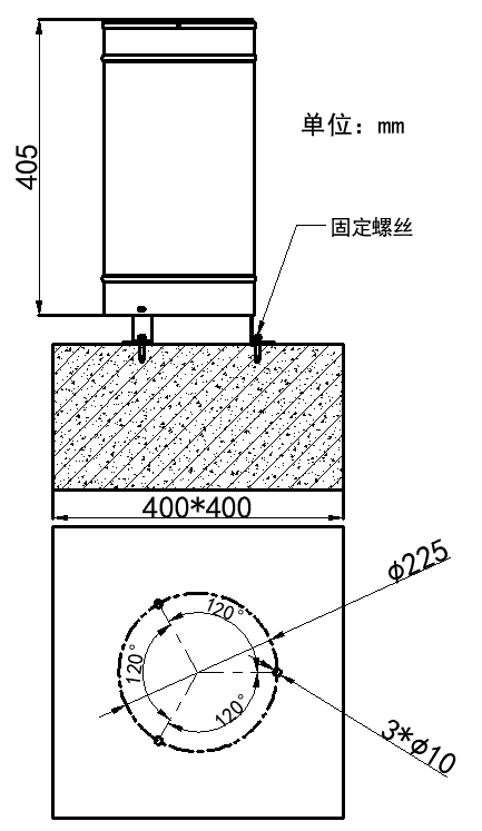
| 雨量计筒直径 | Φ200mm | |
| 分辨率 | 0.2mm/0.1mm | |
| 刃口锐角 | 40°~45° | |
| 输出方式 | 485型、 4~20mA/0~2V/0~5V/0~10V、 脉冲型 | |
| 工作温度 | 0~55℃ | |
| 工作湿度 | <95%(40℃) | |
| 储存温度 | -40~125℃ | |
| 储存湿度 | <80%(无凝结) | |
| 测量误差 | ≤±3% | |
| 雨强范围 | 0mm~4mm/min 允许通过最大雨强8mm/min | |
| 485型 | 供电范围 | 4.5~30V |
| 最大功耗 | 0.24W | |
| 模拟量型、485型(10要素) | 供电范围 | 10~30V |
| 最大功耗 | 0.24W | |
| 脉冲型 | 承受电压 | ≤100V |
| 承受电流 | ≤0.5A | |
